LCMS-2050维护操作之更换毛细管组件

 

LCMS-2050是岛津公司最新款单四极杆高效液相色谱质谱联用仪,它有设计小巧,操作简便,高性能等特点。毛细管组件是质谱使用和定期维护的常备耗材,它对质谱检测器的灵敏度高低有着直接的影响,我们有必要了解和掌握它的具体更换步骤。

 

 

LCMS-2050

更换毛细管组件

 

毛细管内径极细,仅有0.1mm,如果流动相或样品内混入微小的杂质,很可能造成堵塞。更换前应先停止液相泵的运行,关闭软件上的MS开关,确认脱溶剂温度和DL温度低于50℃后,再实施作业。

 

更换步骤

① 打开MS前面板,如下图所示,分别用手拧松公螺母❶和❸,同时拆下对应的PEEK管❷和❹。

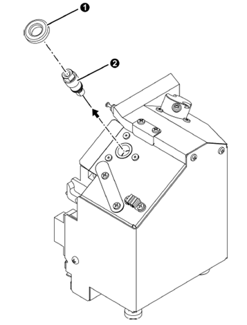
② 拆卸和安装电离接口的ESI二通。打开离子源门,取下离子源,拆掉下图中标记的黑色滚花螺丝❶,旋转取出电离接口的ESI二通❷(若不容易拧松可使用扳手),沿下图所示箭头方向取出;

 

接下来拆掉旧的毛细管,在二通上安装新的毛细管并用手拧紧,注意露出的毛细管前端不要太长也不要太短,跟内衬管平行即可。

之后将ESI二通插入电离接口,用手拧紧二通,使用扳手旋转将毛细管前端露出的长度调整在0.5~1 mm范围内,最后用手拧紧黑色滚花螺丝,固定好二通的位置。

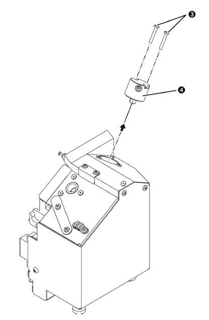
③ 拆卸和安装子接口的子电离源二通。如下图所示,先用十字螺丝刀取出两颗螺丝❸,然后沿箭头方向取出二通❹,取下旧的毛细管,在二通上安装新的毛细管并用手拧紧,同样要注意避免露出的毛细管前端太长或太短。随后沿箭头反方向安装子电离源二通,使用十字螺丝刀将两颗螺丝重新拧上。

 

④ 更换完毕后,将离子源装好,合上离子源门,并复原之前拆下来的对应PEEK管线,关闭前面板。

 

以上就是更换毛细管组件的整体操作步骤,希望大家通过了解和学习这些内容,能更好地掌握质谱相关的维护保养工作,保障我们的设备能够长期良好稳定地运行。如需了解更多内容,欢迎关注我们的公众号,期待下期与您再次相遇!

作者: 
LabTotal事业部
列表显示类型: 
大图
列表图片: 
所属合集: 
32
账号内置顶: 

分类:

推荐到首页: 
产品详情显示位置: 
维护保养