LCMS-2050维护操作之更换DL管


DL管更换步骤


在更换DL管前,需要先停止液相泵的运行,关闭软件上的MS开关,确认脱溶剂温度和DL温度低于50℃后,再实施作业。

拆下离子源,然后从加热器法兰上拆下电晕针单元,接下来如下图所示,整个握住加热器法兰,将其朝外拉出。若不易拆卸,可使用仪器自带的拔除工具进行操作。

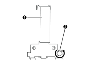
拔除工具安装如下图所示,首先将拔除工具❶的滚花螺丝❷拧松;

接下来从左侧将拔除工具❶插到加热器法兰❸上,拧紧滚花螺丝❷,朝外拔出加热器法兰,然后再拧松滚花螺丝,拆下加热器法兰。


从加热器法兰的背面拆下DL组件,如下图所示,可用手直接拉出。

将新的DL组件安装到加热器法兰上,正常安装到位会听到“咔嗒”声响。接下来复原加热器法兰,电晕针,装好离子源。
好了,本期的内容就介绍到这里,如果这些内容对您在质谱的日常维护中有帮助,欢迎关注我们的公众号,下期内容更精彩!


列表显示类型:
大图
列表图片:

所属合集:
32
账号内置顶:
否
分类:
推荐到首页:
否